鹤管的使用场景和焊接概述
发布时间:2021-10-14点击数:
鹤管是用于公路和铁路槽车在敞开或密闭状态下进行各种液体和液化气体的顶部和底部装卸,适用介质为液化气、石油产品、酸、碱等化工产品。
1.按管道材质分为碳钢、不锈钢、铝合金鹤管等
2.按介质分为汽柴油、液氯、液氨、液化气、甲醇、乙醇、丙烯鹤管等
3.按运用场景分为陆用鹤管及船用鹤管等

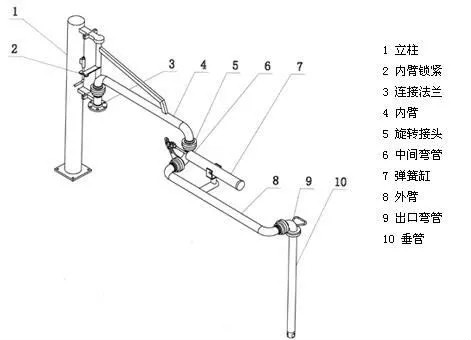
上图为鹤管的典型组成结构,其间衔接除几处旋转接头之外大部分是需求焊接的,由于其介质大多为易腐蚀性介质,有毒性,所以鹤管装备用钢和对应的焊接工艺均提出了较高要求。其间需求焊接要求较高的方位主要为四部分:衔接法兰3、内臂4、中间弯管6、外臂8。其他为工作结构件,焊接要求比较前四比较低。鹤管一切承压主管道焊缝选用氩弧焊,并且要求通过严格的探伤查验和水压试验。内部假如成型且防止氧化,内部是少不了充气保护的。(见文章《弯头与管的内部充气》)焊接处焊接结实,焊缝平坦,焊渣铲除洁净,不允许有焊瘤、虚焊、夹渣、气孔、咬口、未焊透等焊接缺陷。焊缝表面应平坦,高度不得低于母材表面,并与母材圆弧过渡。焊接为该产品比较重要的一道生产工艺,产品通过焊接根本成型,后续通过拼装及喷漆等处理后即出货。该行业有些许隶属产品,比如卸液管(金属软管)以及拼装式内浮盘,分为不锈钢和铝制两种资料。
- 在线客服
- 服务热线
- 微信咨询
- 返回顶部